| توافر الحالة: | |
|---|---|
| الكمية: | |
CIMC
87163110
ما هو مقطورة خزان الوقود?
تتكون مقطورة خزان الوقود من تروس التشغيل وجسم الخزان، والتي تستخدم بشكل رئيسي لنقل البنزين والديزل. هناك أيضًا خزانات أخرى يمكنها حمل زيت النخيل والحليب والسوائل الكيميائية وما إلى ذلك. ويعتمد ذلك على مواد الخزان. سيتم ربط المقطورة بواسطة الدبوس الملكي بالعجلة الخامسة لشاحنة الجرار، لتوصيل البضائع من مكان إلى آخر.
تستخدم مقطورة خزان الوقود على نطاق واسع في محطة الوقود ومشروع النفط والمعادن.
لتحمل المزيد، يُقترح استخدام مادة سبائك الألومنيوم الخفيفة.
إذا كنت تحمل الحليب، هناك حاجة إلى مادة من الفولاذ المقاوم للصدأ.
إذا كنت تحمل زيت النخيل، هناك حاجة إلى طلاء واقي حراريًا.
ما هو أكثر من ذلك، يمكننا تخصيص.
حول خزان الوقود ثلاثي المحاور'القدرة
تتراوح من 30000 لتر إلى 46000 لتر.
يمكن أن تكون المقصورات 2/3/4/5/6/7.
موزع الوقود متاح.
الهيكل
يشار إلى الهيكل على النحو التالي الرسم، يمكن أن يكون شكل قسم الخزان بيضاويًا أو خبزيًا أو شبه منحرف وما إلى ذلك ، ويمكن تقسيم الخزان بالكامل إلى عدة حجرات مستقلة ، ويوجد أسفل لوحة السياج الأوسط فتحة من خلال ، ويمكن للوحة السياج الوسطى تخفيف التأثير على الخزان بالوقود أثناء التحرك. غرفة التفتيش مزودة بصمام استراحة، والذي يحافظ على ضغط الخزان الداخلي مساويا للضغط الجوي.
رسم هيكل خزان النفط

1. دبابة 2. التجوال 3. لوحة حاجز الزيت 4. فتحة التفتيش الأمامية 5. لوحة السياج الأوسط 6. فتحة التفتيش الخلفية 7. لوحة حاجز الزيت الأفقية 8. سلم 9. ركوب مقعد الترباس 10. قدم الخزان 11. منصة دعم القدمين 12. لوحة الموقع 13. مخرج لتصريف الوقود
كيفية اختيار مناسبة ودائمة ناقلة وقود شاحنة؟
اختر من نقل البضائع. لدينا مادة الكربون الصلب، مادة سبائك الألومنيوم، وأيضا مادة الفولاذ المقاوم للصدأ.
اختر من حالة الطريق والقواعد المحلية
اختر من الغرض.
إذا كنت لا تعرف كيفية الاختيار، يمكنك إخبارنا بمتطلباتك، وسنقوم بوضع خطة لك.
مزايانا
1. القدرة الثقيلة والأداء العالي
SINOTRUK 3 محاور 46000 لتر مقطورة خزان سبائك الألومنيوم تحظى بشعبية في بلدان أفريقيا، ونحن نبيع الكثير من هذا النموذج كل عام ونكتسب سمعة جيدة للغاية. مع معدات تشغيل قوية جدًا وأثناء جسم الخزان، احمل المزيد واكسب المزيد.
2. نظام تفريغ مريح
لتتناسب مع الأغراض المختلفة، يمكننا أن نوصي بصمامات مناسبة لتفريغ البضائع.
3. خدمة مخصصة
نحن نقدم خدمات مخصصة للتصميم متعدد الوظائف لجميع أنواع المقطورات، ليس فقط لمقطورة الصهريج هذه، ولكن أيضًا للمقطورات القلابة، والمقطورات المنخفضة، ومقطورات الثلاجة وما إلى ذلك.
4. مخزون كاف من قطع الغيار
قبل الشحن، سنقترح على العملاء تجهيز بعض الأجزاء سريعة التآكل مع الشاحنة، وهو أمر جيد جدًا لصيانة المقطورة.
3 محاور 42000 لتر مواصفات مقطورة خزان الوقود من الفولاذ الكربوني

الأبعاد الرئيسية | ||
الطول الكلي | 11700 ملم | |
الارتفاع الكلي | 3705 ملم | |
العرض الإجمالي | 2550 ملم | |
الوزن الفارغ | 7200 كلغ | |
حجم الناقلة | 46000 لتر منها 5% بدل مساحة | |
جسم الخزان | ||
شكل | اسطوانة أحادية الكتلة، 6 مقصورات | |
الحجم الإجمالي (م3) | 46000 لتر | |
مقصورة | 6 مقصورات، 7350L/7350L/7350L/7350L/9250L/7350L من الأمام إلى النهاية | |
مادة جسم الناقلة | 5.5 ملم / لوح ألومنيوم 5182 | |
لوحة المقصورة | 5.5 ملم / لوح ألومنيوم 5182 | |
لوحة النهاية | 6 مم / لوح ألومنيوم 5182 | |
غطاء فتحة | غطاء فتحة API، 20 بوصة، 6 مجموعات مع 6 صمامات للتنفس، مع جهاز إطلاق الطوارئ 10 بوصة، مع صمام التنفس المدمج | |
قضيب تراجع الزيت | 6 مجموعات | |
صمام القاع | صمام سفلي هوائي API واحد | |
صمام التفريغ | 6 مجموعات صمامات تفريغ ∮100 مم | |
أنبوب التفريغ | خرطوم مطاطي 4 بوصة، 2 قطعة | |
الهيكل | ||
الحزم الرئيسية | تصميم خاص، شعاع، متصل بواسطة البراغي والصواميل بجسم الناقلة، قابل للإزالة من جسم الناقلة للنقل المنفصل. | |
المحور | 3 محاورX13T ماركة FUWA | |
معدات الهبوط | ماركة JOST سرعتان، تشغيل يدوي، معدات هبوط للخدمة الشاقة، E100 | |
الملك دبوس | العلامة التجارية JOST دبوس ملكي مثبت بمسامير 2 بوصة | |
تعليق | تعليق ميكانيكي | |
نظام الكبح الهوائي | WABCO RE 4 صمام التتابع؛ غرفة الفرامل الربيعية T30/30+T30؛ خزانات هواء 40 لتر. | |
صور | إطار 315/80R22.5، بإجمالي 13 قطعة | |
تلوين | عملية سفع رملي كاملة للهيكل لتنظيف الصدأ، وطبقة واحدة من الطلاء الأساسي المقاوم للتآكل، وطبقتين من الطلاء النهائي | |
سُلُّم | سلم من سبائك الألومنيوم قابل للإزالة | |
اتصال أرضي | تم تركيب 6 صفائح نحاس إلكتروستاتيكية على جانبي الخزان، 1 أرض كهرباء | |
طفاية | 8 كيلو، 2 قطعة | |
الضوء والدوائر | ايزو 7 دبوس. ضوء LED | |
مُكَمِّلات | مع صندوق الأدوات القياسي | |
استعادة البخار | مع استعادة البخار | |
ABS | مع ABS | |
جهاز مكافحة الفائض | خياري | |
ملاحظات مهمة لمقطورة خزان الوقود المصنوعة من سبائك الألومنيوم ذات 3 محاور سعة 46000 لتر
جهاز توصيل الكهرباء الساكنة
1. يتم اعتماد السلك الأرضي على قدم الخزان الخلفي، وهو على اتصال منتظم بالأرض، وتتمثل وظيفته في توصيل الكهرباء الساكنة الناتجة عن صدمة الوقود أثناء التحرك، إلى الأرض، وذلك لمنع حادث الحريق الناجم عن الكهرباء الساكنة.
2. تجنب القطب
مثبتًا على الإطار، يجب سحب عمود التجنب وإدخاله في الأرض الرطبة عند التزود بالوقود أو تفريغ الزيت، وبهذه الطريقة يتم توصيل الكهرباء الساكنة الناتجة عن الاحتكاك الحركي للوقود إلى الأرض، وذلك لمنع حادث الحريق الناجم عن الكهرباء الساكنة.
الاستخدام والصيانة
رسم التزود بالوقود


1. خزان الزيت 2. فتحة التفتيش العلوية 3. مضخة الزيت 4. صمام كروي ثلاثي المواضع بأربعة اتجاهات 5. صمام الكرة الأمامي المستقيم 6. صمام الكرة المستقيم الخلفي 7. صمام ثلاثي المواضع بأربعة اتجاهات 8. مصفاة 9. صمام كروي خلفي ذاتي التدفق
1. تحميل الزيت
(1) افتح فتحة التفتيش العلوية وقم بتحميل الزيت
(2) ضخ الزيت في: صمام كروي ثلاثي المواضع بأربعة مواضع من 4 إلى موضع B، ويتم توصيل الفم A وC، صمام ثلاثي المواضع بأربعة مواضع من 7 إلى موضع C، منفذ تفريغ مغلق 9، كرة مستقيمة أمامية وخلفية مفتوحة الصمام، قم بتوصيل أحد طرفي أنبوب الزيت مع الشاحنة بالفوهة B للصمام الثلاثي المواضع الأربعة 7، والطرف الآخر بمصدر الزيت، وقم بتشغيل PTO، وتعمل المضخة، ويمر الوقود عبر BA-3-4 -5-6-خزان سفلي الفم، لذلك لتحقيق ضخ النفط في.
2. عمل
(1) التدفق الذاتي: افتح الصمام الكروي الخلفي ذاتي التدفق9، يمكن أن يتدفق الزيت من نهاية الخزان.
بالإضافة إلى ذلك، قم بربط صمام كروي ثلاثي المواضع بأربعة مواضع وصمام كروي ثلاثي المواضع بأربعة مواضع إلى الوضع A، وصمام كروي مستقيم أمامي وخلفي مفتوح، وصمام كروي خلفي مغلق ذاتي التدفق، ويمر الوقود عبر 4-7-B، ويدرك نفسه تدفق
(2) ضخ الزيت للخارج: يتم توصيل صمام كروي ثلاثي المواضع بأربعة مواضع 4 إلى الموضع C وB والفم، ويتم توصيل صمام ثلاثي المواضع بأربعة مواضع إلى الموضع B وC والفم، ويفتح من الأمام والخلف بشكل مستقيم الصمام الكروي، قم بتشغيل PTO، تعمل المضخة، يتدفق الوقود من خلال فتحة الخزان السفلية -5-6-7-3-4-B-مضخة الزيت.
3. ملحوظات
(1) اتجاه نقطة التحديد للصمام الكروي ثلاثي المواضع الأربعة هو الاتجاه القريب.
(2) المقبض تجاه خط الأنابيب هو الاتجاه المفتوح، والاتجاه المغلق هو 90 درجة مع خط الأنابيب، لجميع الصمامات ذات الاتجاه الواحد
(3) يجب فتح صمام العمل أولاً، ثم تشغيل مأخذ الطاقة (PTO) عند العمل
(4) بعد العمل، قم أولاً بفك ارتباط PTO، ثم أغلق صمام العمل.
(5) عندما تكون درجة الحرارة أقل من الصفر، يجب فتح سدادة التصريف الموجودة في قاع الخزان، والسماح للزيت المتبقي بالتصريف بعيدًا، وذلك لحماية الخزان من صدع الصقيع.
(6) قم بفك المصفاة وتنظيفها بانتظام.
(7) افتح غطاء فتحة التفتيش العلوي عند ضخ الزيت للداخل والخارج.
4. الاستعدادات قبل العمل.
(1) تحقق مما إذا كانت لوحة التوصيل الموجودة في الجزء الخلفي من الشاحنة تلامس الأرض، وأن جميع الأجهزة في حالة طبيعية.
(2) أدخل عمود التجنب في الأرض الرطبة، لمنع الكهرباء الساكنة.
(3) تحقق من أن مقبض القابض أو مقبض PTO أو صمام التحكم في الهواء في الوضع الصحيح، وأن دواسة الوقود مثبتة إلى الحد الأدنى، وأن كل مقبض صمام كروي هو الموضع المطلوب.
(4) افحص سطح التشحيم لعلبة التروس المتزايدة في مضخة الزيت، وأضف زيت التروس إذا لم يكن كافيًا.
(5) أضف الزيت الأولي في حالة عدم وجود زيت في مضخة الزيت. يجب إضافة الزيت الأولي عند استخدام الشاحنة لأول مرة، وذلك لمنع تلف مضخة الزيت (إذا لم تتم إضافته، فستتوقف المضخة عن العمل)
الصيانة والملاحظات
1. توجد حشية مطاطية بين الخزان وعارضة الهيكل، وستتحول الحشية المطاطية بعد الحمل الثقيل، وسوف ينفك المسمار على شكل حرف U، لذا بعد التحميل، يجب تشديد المسمار على شكل حرف U، خاصة عند استخدام الشاحنة الجديدة .
2. لتنظيف الخزان، يجب غسل الخزان ونظام خطوط الأنابيب بانتظام، ويجب تشحيم الوصلات الداخلية والخارجية لنهاية أنبوب الزيت بشكل متكرر، وبالتالي يكون التفكيك والتجهيز أسهل، بعد استخدام أنبوب الزيت، النهاية يجب إغلاق الغطاء لإثبات الغبار.
3. يجب ألا يكون الوسط الذي يمر عبر الصمام الكروي متسخًا جدًا، لحماية حلقات الختم، وتحسين عمر خدمة الصمام الكروي، يجب ألا تعمل جميع الصمامات الكروية لفترة طويلة في حالة نصف مفتوح ونصف مغلق، وإلا سوف تتضرر حلقة الختم. يجب إغلاق الصمامات الكروية أثناء قيادة الشاحنة.
4. يجب فك شبكات الضخ وغسلها بشكل متكرر، لإثبات الانسداد، مما يؤثر على التدفق.
5. حافظ على نظافة صمام التنفس، وجعله في حالة صالحة للعمل، ولا يجوز استبدال الزنبرك الموجود في صمام التنفس بشكل عرضي، خوفًا من التأثير على تأثير إطلاق الهواء، فالخزان لديه خطر التحول عند انسداد صمام التنفس.
6. لمنع وقوع حادث حريق، يُحظر ضرب الشاحنة بالمعدن، مما قد يؤدي إلى حدوث شرارة حريق، عند تلف أنبوب العادم وكاتم الصوت، أو تسرب خطوط الأنابيب، أو تلف القطب الكهربائي أو تشققه، يجب أن تكون الشاحنة مزودة دائمًا بمعدات إطفاء الحرائق.
7. إذا كان الخزان لا يزال متجمدًا، فلا تذوب بالنار أو البخار أو قيادة الشاحنة إلى منزل دافئ هو الحل.
8. يجب أن تكون لوحة التوصيل الموجودة في الجزء الخلفي من الشاحنة متصلة بالأرض أثناء إعادة التزود بالوقود أو تفريغ الوقود، كما يجب إدخال عمود التجنب في الأرض الرطبة.
9. يجب أن يكون هناك شخص واحد على الأقل للإشراف عندما يعمل شخص ما في الخزان الذي كان يحتوي على الوقود من قبل.
10. صرف الماء المتبقي في المضخة في فصل الشتاء للتأكد من تلف المضخة بسبب الصقيع.
11. يجب أن يعرف مستخدم صهريج الوقود كيفية استخدام طفايات الحريق بشكل جيد، وأن يقوم بالفحص المتكرر لصيانة طفايات الحريق.
الخلل والحل
عطل | الأسباب | حل |
امتصاص الزيت غير طبيعي (لا يمكن امتصاص الزيت أو امتصاص كمية قليلة جدًا من الزيت) | لا يوجد زيت فتيلة في المضخة، ويظهر مقياس الفراغ 0 | أضف 15 لترًا إلى المضخة من المدخل أو المخرج |
عمق الامتصاص يزيد عن 5 أمتار | خارج نطاق التطبيق | |
أنبوب الزيت مسدود، ويظهر مقياس الفراغ درجة الفراغ أعلى من 300 مم/عمود زئبق | فحص المصفاة الموجودة في أنبوب امتصاص الزيت، والتخلص من الانسداد. | |
أنبوب امتصاص الزيت ليس محكم الإغلاق، ويظهر مقياس الفراغ أن درجة الفراغ منخفضة. | فحص وإزالة تسرب الهواء. | |
تآكل مضخة الزيت، ويظهر مقياس الفراغ أن درجة الفراغ منخفضة | تحقق من أنبوب مدخل الزيت ونظام النقل الآخر، إذا كان كل شيء في حالة طبيعية، ودرجة الفراغ لا تزال منخفضة، يرجى تفكيك المضخة وفحصها وفقًا لذلك. | |
لا يمكن تفريغ الزيت (أو الرواسب) | خزان الوقود متسخ للغاية، وفوهة التفريغ مسدودة، ويوجد ماء متجمد في الخزان في فصل الشتاء | قم بفك أنبوب التفريغ، وإزالة الشوائب، وإذابة الجليد بالماء الساخن أو البخار. |
المضخة الداعمة لتفريغ الجزء السفلي من الجسم يتسرب منها الزيت الأسود أو الوسط الذي يتم توصيله | يتسرب من فم التفريغ زيت أسود، مما يعني تلف حلقة الختم القريبة من علبة التروس المتزايدة | استبدال حلقة الختم. |
يقوم فم التفريغ بتسريب الوقود الذي يتم توصيله، مما يعني أن حلقة الختم الميكانيكية القريبة من المضخة معطلة عن العمل | افحص حلقة الختم الميكانيكية ونظفها، واستبدل حلقة الختم في حالة تلفها |
المنتجات الرئيسية
1. شاحنة قلابة / شاحنة قلابة
2. شاحنة إطفاء / شاحنة إطفاء / سيارة إطفاء / محرك إطفاء
3. شاحنة مزودة برافعة / رافعة مثبتة على شاحنة
4. شاحنة صهريج النفط / شاحنة صهريج الوقود
5. شاحنة المياه / شاحنة خزان المياه / شاحنة رش المياه
6. شاحنة خلط الخرسانة
7. شاحنة فان / شاحنة معزولة / شاحنة تبريد
8. شاحنة شفط البراز / شاحنة شفط مياه الصرف الصحي
9. شاحنة صهريج مسحوق الأسمنت / شاحنة الأسمنت السائب
10. شاحنة عملية على ارتفاعات عالية
11. شاحنة القمامة ذاتية التحميل، شاحنة القمامة، شاحنة القمامة مختومة،
12. نصف مقطورة (مقطورة مسطحة / مقطورة هيكلية / نصف مقطورة قلابة / مقطورة حائط جانبية / مقطورة منخفضة السرير / مقطورة حاوية فان / مقطورة مستودع، إلخ.)
التعليمات
1. موك: 1 وحدة
2. شروط الدفع الاختيارية: T/T أو L/C
T/T: إيداع 30% عن طريق T/T، وينبغي دفع رصيد 70% قبل الشحن.
خطاب الاعتماد: 30% دفعة مقدمة، 70% خطاب اعتماد عند الاطلاع. أو 100% LC في الأفق.
3. يمكن اعتماد أجزاء من العلامات التجارية الشهيرة حسب متطلباتك، مثل WABCO، JOST، BPW، FUWA.
4. وقت التسليم: في غضون 30 يوم عمل بعد تلقي إيداع 30٪ من T / T
ضمان
1. ضمان الجودة لمدة 6 أشهر لثلاثة محاور للأجزاء الرئيسية، العارضة ومعدات الهبوط أو في نطاق 50,000 كيلومتر، والذي يأتي أولاً للمقطورات.
2. يمكن توفير قطع الغيار الأخرى من قبل OEM بأسعار التكلفة.
3. معاودة الاتصال بانتظام لمعرفة حالة عمل السيارة.
4. المهندسون الأجانب مستعدون دائمًا للتعامل مع الاحتياجات غير المتوقعة.
لماذا تختارنا؟
1. SINOTRUK هو الأول وأيضًا لا. 1 مصنع في مجال إنتاج وتصدير الشاحنات الثقيلة.
2. كمصنع فرعي لمجموعة SINOTRUK، سوف نقدم لك أسعار المصنع مباشرة.
3. لدى SINOTRUK فروع في أكثر من 40 دولة، وأكثر من 160 موزعًا، وأكثر من 330 مركز خدمة وأكثر من 310 صالة عرض لقطع الغيار في الأسواق الخارجية، وتتوفر أيضًا خدمة التدريب.
ما هو مقطورة خزان الوقود?
تتكون مقطورة خزان الوقود من تروس التشغيل وجسم الخزان، والتي تستخدم بشكل رئيسي لنقل البنزين والديزل. هناك أيضًا خزانات أخرى يمكنها حمل زيت النخيل والحليب والسوائل الكيميائية وما إلى ذلك. ويعتمد ذلك على مواد الخزان. سيتم ربط المقطورة بواسطة الدبوس الملكي بالعجلة الخامسة لشاحنة الجرار، لتوصيل البضائع من مكان إلى آخر.
تستخدم مقطورة خزان الوقود على نطاق واسع في محطة الوقود ومشروع النفط والمعادن.
لتحمل المزيد، يُقترح استخدام مادة سبائك الألومنيوم الخفيفة.
إذا كنت تحمل الحليب، هناك حاجة إلى مادة من الفولاذ المقاوم للصدأ.
إذا كنت تحمل زيت النخيل، هناك حاجة إلى طلاء واقي حراريًا.
ما هو أكثر من ذلك، يمكننا تخصيص.
حول خزان الوقود ثلاثي المحاور'القدرة
تتراوح من 30000 لتر إلى 46000 لتر.
يمكن أن تكون المقصورات 2/3/4/5/6/7.
موزع الوقود متاح.
الهيكل
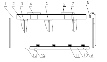
يشار إلى الهيكل على النحو التالي الرسم، يمكن أن يكون شكل قسم الخزان بيضاويًا أو خبزيًا أو شبه منحرف وما إلى ذلك ، ويمكن تقسيم الخزان بالكامل إلى عدة حجرات مستقلة ، ويوجد أسفل لوحة السياج الأوسط فتحة من خلال ، ويمكن للوحة السياج الوسطى تخفيف التأثير على الخزان بالوقود أثناء التحرك. غرفة التفتيش مزودة بصمام استراحة، والذي يحافظ على ضغط الخزان الداخلي مساويا للضغط الجوي.
رسم هيكل خزان النفط

1. دبابة 2. التجوال 3. لوحة حاجز الزيت 4. فتحة التفتيش الأمامية 5. لوحة السياج الأوسط 6. فتحة التفتيش الخلفية 7. لوحة حاجز الزيت الأفقية 8. سلم 9. ركوب مقعد الترباس 10. قدم الخزان 11. منصة دعم القدمين 12. لوحة الموقع 13. مخرج لتصريف الوقود
كيفية اختيار مناسبة ودائمة ناقلة وقود شاحنة؟
اختر من نقل البضائع. لدينا مادة الكربون الصلب، مادة سبائك الألومنيوم، وأيضا مادة الفولاذ المقاوم للصدأ.
اختر من حالة الطريق والقواعد المحلية
اختر من الغرض.
إذا كنت لا تعرف كيفية الاختيار، يمكنك إخبارنا بمتطلباتك، وسنقوم بوضع خطة لك.
مزايانا
1. القدرة الثقيلة والأداء العالي
SINOTRUK 3 محاور 46000 لتر مقطورة خزان سبائك الألومنيوم تحظى بشعبية في بلدان أفريقيا، ونحن نبيع الكثير من هذا النموذج كل عام ونكتسب سمعة جيدة للغاية. مع معدات تشغيل قوية جدًا وأثناء جسم الخزان، احمل المزيد واكسب المزيد.
2. نظام تفريغ مريح
لتتناسب مع الأغراض المختلفة، يمكننا أن نوصي بصمامات مناسبة لتفريغ البضائع.
3. خدمة مخصصة
نحن نقدم خدمات مخصصة للتصميم متعدد الوظائف لجميع أنواع المقطورات، ليس فقط لمقطورة الصهريج هذه، ولكن أيضًا للمقطورات القلابة، والمقطورات المنخفضة، ومقطورات الثلاجة وما إلى ذلك.
4. مخزون كاف من قطع الغيار
قبل الشحن، سنقترح على العملاء تجهيز بعض الأجزاء سريعة التآكل مع الشاحنة، وهو أمر جيد جدًا لصيانة المقطورة.
3 محاور 42000 لتر مواصفات مقطورة خزان الوقود من الفولاذ الكربوني

الأبعاد الرئيسية | ||
الطول الكلي | 11700 ملم | |
الارتفاع الكلي | 3705 ملم | |
العرض الإجمالي | 2550 ملم | |
الوزن الفارغ | 7200 كلغ | |
حجم الناقلة | 46000 لتر منها 5% بدل مساحة | |
جسم الخزان | ||
شكل | اسطوانة أحادية الكتلة، 6 مقصورات | |
الحجم الإجمالي (م3) | 46000 لتر | |
مقصورة | 6 مقصورات، 7350L/7350L/7350L/7350L/9250L/7350L من الأمام إلى النهاية | |
مادة جسم الناقلة | 5.5 ملم / لوح ألومنيوم 5182 | |
لوحة المقصورة | 5.5 ملم / لوح ألومنيوم 5182 | |
لوحة النهاية | 6 مم / لوح ألومنيوم 5182 | |
غطاء فتحة | غطاء فتحة API، 20 بوصة، 6 مجموعات مع 6 صمامات للتنفس، مع جهاز إطلاق الطوارئ 10 بوصة، مع صمام التنفس المدمج | |
قضيب تراجع الزيت | 6 مجموعات | |
صمام القاع | صمام سفلي هوائي API واحد | |
صمام التفريغ | 6 مجموعات صمامات تفريغ ∮100 مم | |
أنبوب التفريغ | خرطوم مطاطي 4 بوصة، 2 قطعة | |
الهيكل | ||
الحزم الرئيسية | تصميم خاص، شعاع، متصل بواسطة البراغي والصواميل بجسم الناقلة، قابل للإزالة من جسم الناقلة للنقل المنفصل. | |
المحور | 3 محاورX13T ماركة FUWA | |
معدات الهبوط | ماركة JOST سرعتان، تشغيل يدوي، معدات هبوط للخدمة الشاقة، E100 | |
الملك دبوس | العلامة التجارية JOST دبوس ملكي مثبت بمسامير 2 بوصة | |
تعليق | تعليق ميكانيكي | |
نظام الكبح الهوائي | WABCO RE 4 صمام التتابع؛ غرفة الفرامل الربيعية T30/30+T30؛ خزانات هواء 40 لتر. | |
صور | إطار 315/80R22.5، بإجمالي 13 قطعة | |
تلوين | عملية سفع رملي كاملة للهيكل لتنظيف الصدأ، وطبقة واحدة من الطلاء الأساسي المقاوم للتآكل، وطبقتين من الطلاء النهائي | |
سُلُّم | سلم من سبائك الألومنيوم قابل للإزالة | |
اتصال أرضي | تم تركيب 6 صفائح نحاس إلكتروستاتيكية على جانبي الخزان، 1 أرض كهرباء | |
طفاية | 8 كيلو، 2 قطعة | |
الضوء والدوائر | ايزو 7 دبوس. ضوء LED | |
مُكَمِّلات | مع صندوق الأدوات القياسي | |
استعادة البخار | مع استعادة البخار | |
ABS | مع ABS | |
جهاز مكافحة الفائض | خياري | |
ملاحظات مهمة لمقطورة خزان الوقود المصنوعة من سبائك الألومنيوم ذات 3 محاور سعة 46000 لتر
جهاز توصيل الكهرباء الساكنة
1. يتم اعتماد السلك الأرضي على قدم الخزان الخلفي، وهو على اتصال منتظم بالأرض، وتتمثل وظيفته في توصيل الكهرباء الساكنة الناتجة عن صدمة الوقود أثناء التحرك، إلى الأرض، وذلك لمنع حادث الحريق الناجم عن الكهرباء الساكنة.
2. تجنب القطب
مثبتًا على الإطار، يجب سحب عمود التجنب وإدخاله في الأرض الرطبة عند التزود بالوقود أو تفريغ الزيت، وبهذه الطريقة يتم توصيل الكهرباء الساكنة الناتجة عن الاحتكاك الحركي للوقود إلى الأرض، وذلك لمنع حادث الحريق الناجم عن الكهرباء الساكنة.
الاستخدام والصيانة
رسم التزود بالوقود


1. خزان الزيت 2. فتحة التفتيش العلوية 3. مضخة الزيت 4. صمام كروي ثلاثي المواضع بأربعة اتجاهات 5. صمام الكرة الأمامي المستقيم 6. صمام الكرة المستقيم الخلفي 7. صمام ثلاثي المواضع بأربعة اتجاهات 8. مصفاة 9. صمام كروي خلفي ذاتي التدفق
1. تحميل الزيت
(1) افتح فتحة التفتيش العلوية وقم بتحميل الزيت
(2) ضخ الزيت في: صمام كروي ثلاثي المواضع بأربعة مواضع من 4 إلى موضع B، ويتم توصيل الفم A وC، صمام ثلاثي المواضع بأربعة مواضع من 7 إلى موضع C، منفذ تفريغ مغلق 9، كرة مستقيمة أمامية وخلفية مفتوحة الصمام، قم بتوصيل أحد طرفي أنبوب الزيت مع الشاحنة بالفوهة B للصمام الثلاثي المواضع الأربعة 7، والطرف الآخر بمصدر الزيت، وقم بتشغيل PTO، وتعمل المضخة، ويمر الوقود عبر BA-3-4 -5-6-خزان سفلي الفم، لذلك لتحقيق ضخ النفط في.
2. عمل
(1) التدفق الذاتي: افتح الصمام الكروي الخلفي ذاتي التدفق9، يمكن أن يتدفق الزيت من نهاية الخزان.
بالإضافة إلى ذلك، قم بربط صمام كروي ثلاثي المواضع بأربعة مواضع وصمام كروي ثلاثي المواضع بأربعة مواضع إلى الوضع A، وصمام كروي مستقيم أمامي وخلفي مفتوح، وصمام كروي خلفي مغلق ذاتي التدفق، ويمر الوقود عبر 4-7-B، ويدرك نفسه تدفق
(2) ضخ الزيت للخارج: يتم توصيل صمام كروي ثلاثي المواضع بأربعة مواضع 4 إلى الموضع C وB والفم، ويتم توصيل صمام ثلاثي المواضع بأربعة مواضع إلى الموضع B وC والفم، ويفتح من الأمام والخلف بشكل مستقيم الصمام الكروي، قم بتشغيل PTO، تعمل المضخة، يتدفق الوقود من خلال فتحة الخزان السفلية -5-6-7-3-4-B-مضخة الزيت.
3. ملحوظات
(1) اتجاه نقطة التحديد للصمام الكروي ثلاثي المواضع الأربعة هو الاتجاه القريب.
(2) المقبض تجاه خط الأنابيب هو الاتجاه المفتوح، والاتجاه المغلق هو 90 درجة مع خط الأنابيب، لجميع الصمامات ذات الاتجاه الواحد
(3) يجب فتح صمام العمل أولاً، ثم تشغيل مأخذ الطاقة (PTO) عند العمل
(4) بعد العمل، قم أولاً بفك ارتباط PTO، ثم أغلق صمام العمل.
(5) عندما تكون درجة الحرارة أقل من الصفر، يجب فتح سدادة التصريف الموجودة في قاع الخزان، والسماح للزيت المتبقي بالتصريف بعيدًا، وذلك لحماية الخزان من صدع الصقيع.
(6) قم بفك المصفاة وتنظيفها بانتظام.
(7) افتح غطاء فتحة التفتيش العلوي عند ضخ الزيت للداخل والخارج.
4. الاستعدادات قبل العمل.
(1) تحقق مما إذا كانت لوحة التوصيل الموجودة في الجزء الخلفي من الشاحنة تلامس الأرض، وأن جميع الأجهزة في حالة طبيعية.
(2) أدخل عمود التجنب في الأرض الرطبة، لمنع الكهرباء الساكنة.
(3) تحقق من أن مقبض القابض أو مقبض PTO أو صمام التحكم في الهواء في الوضع الصحيح، وأن دواسة الوقود مثبتة إلى الحد الأدنى، وأن كل مقبض صمام كروي هو الموضع المطلوب.
(4) افحص سطح التشحيم لعلبة التروس المتزايدة في مضخة الزيت، وأضف زيت التروس إذا لم يكن كافيًا.
(5) أضف الزيت الأولي في حالة عدم وجود زيت في مضخة الزيت. يجب إضافة الزيت الأولي عند استخدام الشاحنة لأول مرة، وذلك لمنع تلف مضخة الزيت (إذا لم تتم إضافته، فستتوقف المضخة عن العمل)
الصيانة والملاحظات
1. توجد حشية مطاطية بين الخزان وعارضة الهيكل، وستتحول الحشية المطاطية بعد الحمل الثقيل، وسوف ينفك المسمار على شكل حرف U، لذا بعد التحميل، يجب تشديد المسمار على شكل حرف U، خاصة عند استخدام الشاحنة الجديدة .
2. لتنظيف الخزان، يجب غسل الخزان ونظام خطوط الأنابيب بانتظام، ويجب تشحيم الوصلات الداخلية والخارجية لنهاية أنبوب الزيت بشكل متكرر، وبالتالي يكون التفكيك والتجهيز أسهل، بعد استخدام أنبوب الزيت، النهاية يجب إغلاق الغطاء لإثبات الغبار.
3. يجب ألا يكون الوسط الذي يمر عبر الصمام الكروي متسخًا جدًا، لحماية حلقات الختم، وتحسين عمر خدمة الصمام الكروي، يجب ألا تعمل جميع الصمامات الكروية لفترة طويلة في حالة نصف مفتوح ونصف مغلق، وإلا سوف تتضرر حلقة الختم. يجب إغلاق الصمامات الكروية أثناء قيادة الشاحنة.
4. يجب فك شبكات الضخ وغسلها بشكل متكرر، لإثبات الانسداد، مما يؤثر على التدفق.
5. حافظ على نظافة صمام التنفس، وجعله في حالة صالحة للعمل، ولا يجوز استبدال الزنبرك الموجود في صمام التنفس بشكل عرضي، خوفًا من التأثير على تأثير إطلاق الهواء، فالخزان لديه خطر التحول عند انسداد صمام التنفس.
6. لمنع وقوع حادث حريق، يُحظر ضرب الشاحنة بالمعدن، مما قد يؤدي إلى حدوث شرارة حريق، عند تلف أنبوب العادم وكاتم الصوت، أو تسرب خطوط الأنابيب، أو تلف القطب الكهربائي أو تشققه، يجب أن تكون الشاحنة مزودة دائمًا بمعدات إطفاء الحرائق.
7. إذا كان الخزان لا يزال متجمدًا، فلا تذوب بالنار أو البخار أو قيادة الشاحنة إلى منزل دافئ هو الحل.
8. يجب أن تكون لوحة التوصيل الموجودة في الجزء الخلفي من الشاحنة متصلة بالأرض أثناء إعادة التزود بالوقود أو تفريغ الوقود، كما يجب إدخال عمود التجنب في الأرض الرطبة.
9. يجب أن يكون هناك شخص واحد على الأقل للإشراف عندما يعمل شخص ما في الخزان الذي كان يحتوي على الوقود من قبل.
10. صرف الماء المتبقي في المضخة في فصل الشتاء للتأكد من تلف المضخة بسبب الصقيع.
11. يجب أن يعرف مستخدم صهريج الوقود كيفية استخدام طفايات الحريق بشكل جيد، وأن يقوم بالفحص المتكرر لصيانة طفايات الحريق.
الخلل والحل
عطل | الأسباب | حل |
امتصاص الزيت غير طبيعي (لا يمكن امتصاص الزيت أو امتصاص كمية قليلة جدًا من الزيت) | لا يوجد زيت فتيلة في المضخة، ويظهر مقياس الفراغ 0 | أضف 15 لترًا إلى المضخة من المدخل أو المخرج |
عمق الامتصاص يزيد عن 5 أمتار | خارج نطاق التطبيق | |
أنبوب الزيت مسدود، ويظهر مقياس الفراغ درجة الفراغ أعلى من 300 مم/عمود زئبق | فحص المصفاة الموجودة في أنبوب امتصاص الزيت، والتخلص من الانسداد. | |
أنبوب امتصاص الزيت ليس محكم الإغلاق، ويظهر مقياس الفراغ أن درجة الفراغ منخفضة. | فحص وإزالة تسرب الهواء. | |
تآكل مضخة الزيت، ويظهر مقياس الفراغ أن درجة الفراغ منخفضة | تحقق من أنبوب مدخل الزيت ونظام النقل الآخر، إذا كان كل شيء في حالة طبيعية، ودرجة الفراغ لا تزال منخفضة، يرجى تفكيك المضخة وفحصها وفقًا لذلك. | |
لا يمكن تفريغ الزيت (أو الرواسب) | خزان الوقود متسخ للغاية، وفوهة التفريغ مسدودة، ويوجد ماء متجمد في الخزان في فصل الشتاء | قم بفك أنبوب التفريغ، وإزالة الشوائب، وإذابة الجليد بالماء الساخن أو البخار. |
المضخة الداعمة لتفريغ الجزء السفلي من الجسم يتسرب منها الزيت الأسود أو الوسط الذي يتم توصيله | يتسرب من فم التفريغ زيت أسود، مما يعني تلف حلقة الختم القريبة من علبة التروس المتزايدة | استبدال حلقة الختم. |
يقوم فم التفريغ بتسريب الوقود الذي يتم توصيله، مما يعني أن حلقة الختم الميكانيكية القريبة من المضخة معطلة عن العمل | افحص حلقة الختم الميكانيكية ونظفها، واستبدل حلقة الختم في حالة تلفها |
المنتجات الرئيسية
1. شاحنة قلابة / شاحنة قلابة
2. شاحنة إطفاء / شاحنة إطفاء / سيارة إطفاء / محرك إطفاء
3. شاحنة مزودة برافعة / رافعة مثبتة على شاحنة
4. شاحنة صهريج النفط / شاحنة صهريج الوقود
5. شاحنة المياه / شاحنة خزان المياه / شاحنة رش المياه
6. شاحنة خلط الخرسانة
7. شاحنة فان / شاحنة معزولة / شاحنة تبريد
8. شاحنة شفط البراز / شاحنة شفط مياه الصرف الصحي
9. شاحنة صهريج مسحوق الأسمنت / شاحنة الأسمنت السائب
10. شاحنة عملية على ارتفاعات عالية
11. شاحنة القمامة ذاتية التحميل، شاحنة القمامة، شاحنة القمامة مختومة،
12. نصف مقطورة (مقطورة مسطحة / مقطورة هيكلية / نصف مقطورة قلابة / مقطورة حائط جانبية / مقطورة منخفضة السرير / مقطورة حاوية فان / مقطورة مستودع، إلخ.)
التعليمات
1. موك: 1 وحدة
2. شروط الدفع الاختيارية: T/T أو L/C
T/T: إيداع 30% عن طريق T/T، وينبغي دفع رصيد 70% قبل الشحن.
خطاب الاعتماد: 30% دفعة مقدمة، 70% خطاب اعتماد عند الاطلاع. أو 100% LC في الأفق.
3. يمكن اعتماد أجزاء من العلامات التجارية الشهيرة حسب متطلباتك، مثل WABCO، JOST، BPW، FUWA.
4. وقت التسليم: في غضون 30 يوم عمل بعد تلقي إيداع 30٪ من T / T
ضمان
1. ضمان الجودة لمدة 6 أشهر لثلاثة محاور للأجزاء الرئيسية، العارضة ومعدات الهبوط أو في نطاق 50,000 كيلومتر، والذي يأتي أولاً للمقطورات.
2. يمكن توفير قطع الغيار الأخرى من قبل OEM بأسعار التكلفة.
3. معاودة الاتصال بانتظام لمعرفة حالة عمل السيارة.
4. المهندسون الأجانب مستعدون دائمًا للتعامل مع الاحتياجات غير المتوقعة.
لماذا تختارنا؟
1. SINOTRUK هو الأول وأيضًا لا. 1 مصنع في مجال إنتاج وتصدير الشاحنات الثقيلة.
2. كمصنع فرعي لمجموعة SINOTRUK، سوف نقدم لك أسعار المصنع مباشرة.
3. لدى SINOTRUK فروع في أكثر من 40 دولة، وأكثر من 160 موزعًا، وأكثر من 330 مركز خدمة وأكثر من 310 صالة عرض لقطع الغيار في الأسواق الخارجية، وتتوفر أيضًا خدمة التدريب.
بيت | معلومات عنا | منتجات | خدمة | حالات | تحميل | أخبار | اتصل بنا | سياسة الخصوصية